Projekt domu Cyprys 3 BSA1572

kontakt - projekty domów | projektydomow.domiporta.pl

Joanna Skoczylas - Kunda

Porady, oferty, zamówienia

Jak zamówić projekt?

22 451 01 70

pn-pt 8-22, sb 10-18

Pow. użytkowa 136,47 m2 Kubatura 719 m3 Wysokość domu 8,13 m
Pow. zabudowy 126,83 m2 Min. szer. działki 19,03 m Kąt nach. dachu 21 st
Pow. dachu 145 m2 EUco 34,81 kWh/(m2*rok)
Projekt domu Cyprys 3 progress

Opis projektu

Dwukondygnacyjny dom jednorodzinny, niepodpiwniczony, przeznaczony dla 4 – 5-osobowej rodziny. Na parterze obok przestronnej, jednoczęściowej części dziennej zaprojektowano dodatkowy pokój oraz część gospodarczą. Pełna druga kondygnacja, na której przewidziano trzy sypialnie, garderobę oraz łazienkę, zapewnia komfort mieszkania. Elegancka, prosta bryła.

Kup teraz projekt

Cena: 5649 zł

Rzut kondygnacji projektu Cyprys 3 - Rzut parteru

1 wiatrołap: 2,02 m2
2 korytarz: 18,6 m2
3 łazienka: 3,17 m2
4 pokój dzienny: 24,44 m2
5 kuchnia: 10,18 m2
6 pokój: 9,49 m2
7 kotłownia: 6,04 m2
8 garaż jednostanowiskowy: 18,09 m2

Rzut kondygnacji projektu Cyprys 3 - Rzut 1 piętra

1 korytarz: 8,93 m2
2 garderoba: 5,13 m2
3 pokój: 11,76 m2
4 pokój: 12,09 m2
5 łazienka: 8,16 m2
6 pokój: 16,46 m2

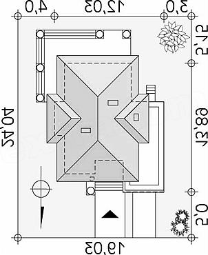
Usytuowanie domu na działce

Koszt budowy domu


Orientacyjny koszt budowy domu w stanie surowym zamkniętym bez instalacji: 350 250 zł.

Technologia budowy domu


Ściany: 2-warstwowe - pustak ceramiczny + styropian. Stropy: żelbetowe, wylewane. Dach: dachówka ceramiczna CREATON, kąt nachylenia 21°. Ogrzewanie: gazowe. Stolarka: brama garażowa i drzwi zewnętrzne Hörmann.

Elewacje

autor: Domy w Stylu

Projekty podobne do Cyprys 3 BSA1572

Serwis prowadzi Extradom.plRegulaminPolityka prywatności