Projekt domu Jodła BSA1841

kontakt - projekty domów | projektydomow.domiporta.pl

Joanna Skoczylas - Kunda

Porady, oferty, zamówienia

Jak zamówić projekt?

22 451 01 70

pn-pt 8-22, sb 10-18

Pow. użytkowa 151,03 m2 Kubatura 825 m3 Wysokość domu 8,55 m
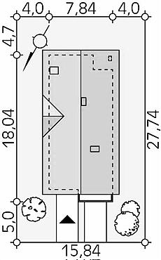
Pow. zabudowy 132,41 m2 Min. szer. działki 15,84 m Kąt nach. dachu 43 st
Pow. dachu 229 m2 EUco 27,44 kWh/(m2*rok)
Projekt domu Jodła progress

Opis projektu

Dom na wąską działkę, z garażem od frontu. Na parterze zaprojektowano część dzienną z salonem, kuchnią i jadalnią. Na poddaszu znajdują się trzy sypialnie, garderoba i łazienka z pralnią.

Kup teraz projekt

Cena: 5449 zł

Rzut kondygnacji projektu Jodła - Rzut parteru

1 wiatrołap: 4,3 m2
2 hall: 15,67 m2
3 pokój dzienny + jadalnia: 33,02 m2
4 kuchnia: 13,17 m2
5 łazienka: 3,84 m2
6 pomieszczenie gospodarcze: 3,43 m2
7 kotłownia: 5,06 m2
8 garaż jednostanowiskowy: 18,35 m2

Rzut kondygnacji projektu Jodła - Rzut poddasza

1 korytarz: 11,34 m2
2 pokój: 11,34 m2
3 pokój: 11,34 m2
4 garderoba: 3,21 m2
5 łazienka: 8,21 m2
6 pomieszczenie gospodarcze + pralnia: 4,7 m2
7 pokój: 22,4 m2

Usytuowanie domu na działce

Technologia budowy domu


Ściany: 2-warstwowe - bloczek TERMALICA 24 + styropian. Stropy: żelbetowe, wylewane. Dach: dachówka ceramiczna CREATON, kąt nachylenia 43° i 43°. Ogrzewanie: gazowe.

Elewacje

autor: Domy w Stylu

Projekty podobne do Jodła BSA1841

Serwis prowadzi Extradom.plRegulaminPolityka prywatności